Сайт Українського клуба фанів FIAT Український клуб фанів FIAT / CLUB UCRAINO TIFOSO DELLA FIAT

 
ФотогалереяФотогалерея   FAQFAQ   ПоискПоиск   ПользователиПользователи   ГруппыГруппы   РегистрацияРегистрация 
 ПрофильПрофиль   Войти и проверить личные сообщенияВойти и проверить личные сообщения   ВходВход 

кпп переделка нижнего на верхнее переключение
На страницу 1, 2  След.
 
Начать новую тему   Ответить на тему    Список форумов Український клуб фанів FIAT / CLUB UCRAINO TIFOSO DELLA FIAT -> Браття наші менші (FIAT Uno, FIAT Panda, Fiat Seicento, Fiat Cinquecento)
Предыдущая тема :: Следующая тема  
Автор Сообщение
pipez
Италолюбитель


Италолюбитель

Возраст: 51
Знак зодиака: Дева
Зарегистрирован: 15.10.2014
Сообщения: 61
Откуда: Харьков

Авто: Fiat Uno 75 i.e. 1.5

СообщениеДобавлено: Вт Июл 14, 2015 09:39    Заголовок сообщения: кпп переделка нижнего на верхнее переключение Ответить с цитатой

во что выльется по деньгам
и что для этого надо

Всем мир.
Вернуться к началу
Посмотреть профиль Отправить личное сообщение Отправить e-mail
Marat Shams
Рулевой филиала


Рулевой филиала

Возраст: 53
Знак зодиака: Телец
Зарегистрирован: 04.10.2007
Сообщения: 8241
Откуда: Lugansk

Авто: Fiat Uno 55s 1,1l '85, Uno Turbo 1.3l i.e(105hp) '85 Lancia Thema 2.0T '90

СообщениеДобавлено: Вт Июл 14, 2015 11:58    Заголовок сообщения: Ответить с цитатой

Другая кулиса и все, что с ней связано. Rolling Eyes Или переваривать старую. По деньгам - как повезет. Как-то так. Отдельно смотреть на сцепу. Шоб не было синдрома "17-20". Laughing Тогда можно и еще много на что влететь.
_________________
Вернуться к началу
Посмотреть профиль Отправить личное сообщение
Uno
Член клуба


Член клуба

Возраст: 53
Знак зодиака: Близнецы
Зарегистрирован: 16.02.2009
Сообщения: 13803
Откуда: Киев Оболонь

Авто: Uno 45 (продан) , Uno 75sie (продан), Uno 1,3 turbo, Uno SX 70 1,3, Doblo 1,3 multijet

СообщениеДобавлено: Вт Июл 14, 2015 12:10    Заголовок сообщения: Ответить с цитатой

другая кпп, другая кулиса, другая рулевая рейка (с креплением под кулису), другая сцепа (на 20 зубов) , другие привода (с внутренними шрусами) и придется кроить моторный щит.
_________________
FuckFuelEconomy-Turbo Power I’m Lovin' it
турбік
добло
Вернуться к началу
Посмотреть профиль Отправить личное сообщение Отправить e-mail
pipez
Италолюбитель


Италолюбитель

Возраст: 51
Знак зодиака: Дева
Зарегистрирован: 15.10.2014
Сообщения: 61
Откуда: Харьков

Авто: Fiat Uno 75 i.e. 1.5

СообщениеДобавлено: Вт Июл 14, 2015 12:14    Заголовок сообщения: Ответить с цитатой

та просто мою кто-то сначала расколол а потом заварил все соеденения
аргоном
она теперь не разборная
теперь дилема что с этим делать
есть кпп но верхнее включение
Вернуться к началу
Посмотреть профиль Отправить личное сообщение Отправить e-mail
zanski
Член клуба


Член клуба

Возраст: 44
Знак зодиака: Рыбы
Зарегистрирован: 03.04.2007
Сообщения: 6607
Откуда: Киев

Авто: Шальоный хаврашок... Не турбувати))) УАЗ 31512 Rob Zombie

СообщениеДобавлено: Вт Июл 14, 2015 12:53    Заголовок сообщения: Ответить с цитатой

pipez
Ставь с верхним переключением, плюс все, что описывал Uno. Старую- под болгарку и на запчасти.

_________________
Давите пешеходов. Они должны усвоить, что раз они не платят дорожный налог, то не имеют права шляться по тому, что им не принадлежит.
(ц) Дж. Кларксон.
Zanski's Garage O6ЗЗЧIOI8I
Вернуться к началу
Посмотреть профиль Отправить личное сообщение Отправить e-mail
юрчик UA
Италоманьячище


Италоманьячище

Возраст: 55
Знак зодиака: Весы
Зарегистрирован: 19.10.2007
Сообщения: 4918
Откуда: Харьков-Торонто

Авто: Фиат Уно 1,4,Ducato,Smart Fortwo,Honda CRV 2,4

СообщениеДобавлено: Вт Июл 14, 2015 13:05    Заголовок сообщения: Ответить с цитатой

Ну я переделывал. Страшного ни чего просто всё надо иметь в наличии. "Вертолет"покупал в Польше ,обошёлся 600грн,тяги новые сам делал из шпилек,наконечники с Мерса. На рейке менять только крепление тяжек и вертолёта,а так рейки одинаковые.
Вов,а зачем кроить моторный щит? Всё становится.

_________________
Бензин должен иметь цвет!

Ноль шесть три 577 36 39
Вернуться к началу
Посмотреть профиль Отправить личное сообщение
Uno
Член клуба


Член клуба

Возраст: 53
Знак зодиака: Близнецы
Зарегистрирован: 16.02.2009
Сообщения: 13803
Откуда: Киев Оболонь

Авто: Uno 45 (продан) , Uno 75sie (продан), Uno 1,3 turbo, Uno SX 70 1,3, Doblo 1,3 multijet

СообщениеДобавлено: Вт Июл 14, 2015 13:09    Заголовок сообщения: Ответить с цитатой

юрчик UA
это от года выпуска уника зависит. в сильно старых там только выштамповка, в поновее уже заглушки ставили.

_________________
FuckFuelEconomy-Turbo Power I’m Lovin' it
турбік
добло
Вернуться к началу
Посмотреть профиль Отправить личное сообщение Отправить e-mail
Кролевчанин
Италоманьячище


Италоманьячище

Возраст: 52
Знак зодиака: Дева
Зарегистрирован: 04.12.2012
Сообщения: 4550
Откуда: Кролевец

Авто: FIAT UNO 60 Disel 1.7 1987 г.в., был FIAT UNO 75i.e. 1988 г.в.

СообщениеДобавлено: Вт Июл 14, 2015 14:39    Заголовок сообщения: Ответить с цитатой

Стартер! Забыли упомянуть про стартер. С ним, как повезёт. Может ещё и менять придётся, так как по креплению не подойдёт (ну или отверстия пересверливать).
По сцеплению, тоже, как повезёт, может и не придётся менять. На 17 шлицев редкие, довольно старые.
Да, и если брать КПП, то обязательно уточнить, на какой машинке до этого стояла, чтобы передаточные числа были похожи. И брать вместе с полуосями, чтобы потом ничего не химичить

_________________
FIAT - первое,что написано на болиде Ferrari F1
Вернуться к началу
Посмотреть профиль Отправить личное сообщение
Uno
Член клуба


Член клуба

Возраст: 53
Знак зодиака: Близнецы
Зарегистрирован: 16.02.2009
Сообщения: 13803
Откуда: Киев Оболонь

Авто: Uno 45 (продан) , Uno 75sie (продан), Uno 1,3 turbo, Uno SX 70 1,3, Doblo 1,3 multijet

СообщениеДобавлено: Вт Июл 14, 2015 14:51    Заголовок сообщения: Ответить с цитатой

идеальный вариант взять кпп с полторахи моника, тогда стартер точно менять не надо. сцепу в любом варианте придется менять - с верхним на 17 зубов небывает. а вот с приводами может и подфартить - были "верхние" кпп с тришипами - тогда можно будет свои полуося оставить.
_________________
FuckFuelEconomy-Turbo Power I’m Lovin' it
турбік
добло
Вернуться к началу
Посмотреть профиль Отправить личное сообщение Отправить e-mail
unomomento
Италофан


Италофан

Возраст: 40
Знак зодиака: Рыбы
Зарегистрирован: 05.01.2014
Сообщения: 223
Откуда: Ровно

Авто: fiat uno 70sx 1.5 карб

СообщениеДобавлено: Ср Июл 15, 2015 11:46    Заголовок сообщения: Ответить с цитатой

а шо за "вертолет"? не могу никак понять, счас у меня стоит вот такая кпп
http://www.natetra.ru/i/m/1000191381017_740819.jpg
с тришыпами а есть еще от ритмо с одним нижним рычагом как на кадете и тоже тришып[/img]
Вернуться к началу
Посмотреть профиль Отправить личное сообщение
юрчик UA
Италоманьячище


Италоманьячище

Возраст: 55
Знак зодиака: Весы
Зарегистрирован: 19.10.2007
Сообщения: 4918
Откуда: Харьков-Торонто

Авто: Фиат Уно 1,4,Ducato,Smart Fortwo,Honda CRV 2,4

СообщениеДобавлено: Ср Июл 15, 2015 12:51    Заголовок сообщения: Ответить с цитатой

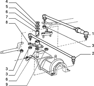
вертолёт это резино-металический шарнир с двумя шпильками вниз и одной вверх,причем эти шпильки шарнирные. Вот он под 3 номером. Чтоб сделать верхнее переключение надо все что на картинке


index.php.png
 Описание:
 Размер:  23.5 KB
 Просмотрено:  525 раз(а)

index.php.png



_________________
Бензин должен иметь цвет!

Ноль шесть три 577 36 39
Вернуться к началу
Посмотреть профиль Отправить личное сообщение
Corleone
Член клуба


Член клуба

Возраст: 47
Знак зодиака: Весы
Зарегистрирован: 16.03.2008
Сообщения: 7508
Откуда: Донецк, Одесса, теперь вот Чехия

Авто: Lancia Delta 1.4 multiair turbo 140 k

СообщениеДобавлено: Ср Июл 15, 2015 13:06    Заголовок сообщения: Ответить с цитатой

Господи, какие сложности на одной модели Confused
Счас все почти коробки на фиатах одинаковые и совместимые , с любых моделей- от пунто-1 до последнего Добло и от панды до Браво. Только число передач и пары разные, но физически- лепи что хочешь к чему хочешь...

_________________
Fiat:Croma 2.5 D, Punto 1.1 , Punto 2 sporting 1.2 16v, Albea 1.4 , Siena 1.2 16v, Bravo 2 1.4 16v, GP 1.4 8v
Lancia: Thema 2.0 8v , Delta 3
Alfa Romeo: 164 2.0 TS, 155 2.0 TS, 147 1.9 JTDm
Вернуться к началу
Посмотреть профиль Отправить личное сообщение Отправить e-mail
Кролевчанин
Италоманьячище


Италоманьячище

Возраст: 52
Знак зодиака: Дева
Зарегистрирован: 04.12.2012
Сообщения: 4550
Откуда: Кролевец

Авто: FIAT UNO 60 Disel 1.7 1987 г.в., был FIAT UNO 75i.e. 1988 г.в.

СообщениеДобавлено: Ср Июл 15, 2015 14:59    Заголовок сообщения: Ответить с цитатой

Если я не ошибаюсь, то на одно только Уно шло 4 версии подключения передач: с нижним, 2 с верхним и на тросах. Ну и АКПП...
_________________
FIAT - первое,что написано на болиде Ferrari F1
Вернуться к началу
Посмотреть профиль Отправить личное сообщение
igogo
Amico


Amico

Возраст: 55
Знак зодиака: Близнецы
Зарегистрирован: 07.06.2011
Сообщения: 34
Откуда: Львів

Авто: not available

СообщениеДобавлено: Ср Июл 15, 2015 17:20    Заголовок сообщения: Ответить с цитатой

А на які мотори офіційно йшли коробки з верхнім переключенням?
В чому коробки з нижнім переключенням такі погані?
Вернуться к началу
Посмотреть профиль Отправить личное сообщение
Кролевчанин
Италоманьячище


Италоманьячище

Возраст: 52
Знак зодиака: Дева
Зарегистрирован: 04.12.2012
Сообщения: 4550
Откуда: Кролевец

Авто: FIAT UNO 60 Disel 1.7 1987 г.в., был FIAT UNO 75i.e. 1988 г.в.

СообщениеДобавлено: Ср Июл 15, 2015 22:36    Заголовок сообщения: Ответить с цитатой

igogo
КПП с верхним переключением более надёжна, на мой взгляд, хотя это спорно. С одним не поспоришь: у КПП с нижним переключением есть одно больное место - это сальник штока переключения передач. Время от времени его нужно менять, т.к. оттуда начинает сопливить масло. У КПП с верхним переключением такое исключено, так как шток выходит вверх, а уровень масла находится ниже Wink

_________________
FIAT - первое,что написано на болиде Ferrari F1
Вернуться к началу
Посмотреть профиль Отправить личное сообщение
Показать сообщения:   
Начать новую тему   Ответить на тему    Список форумов Український клуб фанів FIAT / CLUB UCRAINO TIFOSO DELLA FIAT -> Браття наші менші (FIAT Uno, FIAT Panda, Fiat Seicento, Fiat Cinquecento) Часовой пояс: GMT + 3
На страницу 1, 2  След.
Страница 1 из 2

 
Перейти:  
Вы не можете начинать темы
Вы не можете отвечать на сообщения
Вы не можете редактировать свои сообщения
Вы не можете удалять свои сообщения
Вы не можете голосовать в опросах
Вы не можете присоединять файлы в этом форуме
Вы можете скачивать файлы в этом форуме






Powered by phpBB © 2001, 2005 phpBB Group
З питань розміщення реклами писати на цю адресу