Сайт Українського клуба фанів FIAT Український клуб фанів FIAT / CLUB UCRAINO TIFOSO DELLA FIAT

 
ФотогалереяФотогалерея   FAQFAQ   ПоискПоиск   ПользователиПользователи   ГруппыГруппы   РегистрацияРегистрация 
 ПрофильПрофиль   Войти и проверить личные сообщенияВойти и проверить личные сообщения   ВходВход 

У кого турбо Крома?
На страницу 1, 2, 3  След.
 
Начать новую тему   Ответить на тему    Список форумов Український клуб фанів FIAT / CLUB UCRAINO TIFOSO DELLA FIAT -> FIAT Ritmo, FIAT Regata, FIAT Croma, FIAT Croma Nuova
Предыдущая тема :: Следующая тема  
Автор Сообщение
vova_shkvarovski
Италофан


Италофан

Возраст: 40
Знак зодиака: Стрелец
Зарегистрирован: 19.01.2011
Сообщения: 245
Откуда: Тернополь

Авто: Croma 2.0 T.i.e. 1992

СообщениеДобавлено: Пн Июн 06, 2011 19:41    Заголовок сообщения: У кого турбо Крома? Ответить с цитатой

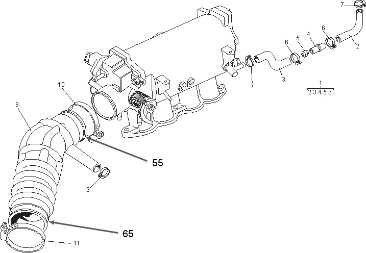
В турбо кромах есть шланг под номером 2.
У меня он подуставший.Сегодня видел нечто похожее от ЗАЗ Сенс
"Шланг впускной ресивера" называется
Диаметры на рис.
Какие диаметры в Кроме, может кто мерял?



ImageHandler.jpg
 Описание:
 Размер:  39.92 KB
 Просмотрено:  313 раз(а)

ImageHandler.jpg



image004.jpg
 Описание:
 Размер:  57.28 KB
 Просмотрено:  323 раз(а)

image004.jpg


Вернуться к началу
Посмотреть профиль Отправить личное сообщение
Do_Sancho
Италоманьячище


Италоманьячище

Возраст: 36
Знак зодиака: Скорпион
Зарегистрирован: 08.06.2009
Сообщения: 2185
Откуда: Одесса

Авто: Dedra Integrale AR 155 Q4

СообщениеДобавлено: Пн Июн 06, 2011 20:11    Заголовок сообщения: Ответить с цитатой

Так даже на "подуставшем" можно померять его диаметр...
_________________
***In SNAIL we Trust***
Fiat Regata 105 TC Full MPI>Dedra Integrale GT28RS 380 hp 1.6 bar ; AR 155 Q4 ; Alfa romeo 166 3.0 V6 sporttronic ; Subaru Forester S-edition 260 h.p.
Вернуться к началу
Посмотреть профиль Отправить личное сообщение
vova_shkvarovski
Италофан


Италофан

Возраст: 40
Знак зодиака: Стрелец
Зарегистрирован: 19.01.2011
Сообщения: 245
Откуда: Тернополь

Авто: Croma 2.0 T.i.e. 1992

СообщениеДобавлено: Пн Июн 06, 2011 21:33    Заголовок сообщения: Ответить с цитатой

Надо пол машины разобрать что б вниз долезть, и если сниму то назад подуставший не сядет, надо новый
Вернуться к началу
Посмотреть профиль Отправить личное сообщение
doc78
Италомафиози


Италомафиози

Возраст: 48
Знак зодиака: Водолей
Зарегистрирован: 30.11.2009
Сообщения: 888
Откуда: Харьков

Авто: Lancia Thema 2,0 turbo, Fiat 127 special

СообщениеДобавлено: Пн Июн 06, 2011 21:42    Заголовок сообщения: Ответить с цитатой

а чо новый купить нельзя? или нормальный с разборки.
Вернуться к началу
Посмотреть профиль Отправить личное сообщение Отправить e-mail
zanski
Член клуба


Член клуба

Возраст: 44
Знак зодиака: Рыбы
Зарегистрирован: 03.04.2007
Сообщения: 6607
Откуда: Киев

Авто: Шальоный хаврашок... Не турбувати))) УАЗ 31512 Rob Zombie

СообщениеДобавлено: Пн Июн 06, 2011 21:50    Заголовок сообщения: Ответить с цитатой

vova_shkvarovski
я бе вам рекомендовал произвести "тюнинг"- поставить силикон/полированный нерж- эт долговечнее и симпатичнее тавро патрубков. не забывайте, что усенса- атмосферный мотор, а у кроматурбы- турбированный. патрубок еще и давление выдерживать должен.

_________________
Давите пешеходов. Они должны усвоить, что раз они не платят дорожный налог, то не имеют права шляться по тому, что им не принадлежит.
(ц) Дж. Кларксон.
Zanski's Garage O6ЗЗЧIOI8I
Вернуться к началу
Посмотреть профиль Отправить личное сообщение Отправить e-mail
vova_shkvarovski
Италофан


Италофан

Возраст: 40
Знак зодиака: Стрелец
Зарегистрирован: 19.01.2011
Сообщения: 245
Откуда: Тернополь

Авто: Croma 2.0 T.i.e. 1992

СообщениеДобавлено: Пн Июн 06, 2011 22:04    Заголовок сообщения: Ответить с цитатой

поставить силикон/полированный нерж- эт долговечнее и симпатичнее тавро патрубков
силикон/полированный нерж -- не понял, о чем речь.Какой он на вид?
А сбоку патрубок на сапун как приделать?
Вернуться к началу
Посмотреть профиль Отправить личное сообщение
zanski
Член клуба


Член клуба

Возраст: 44
Знак зодиака: Рыбы
Зарегистрирован: 03.04.2007
Сообщения: 6607
Откуда: Киев

Авто: Шальоный хаврашок... Не турбувати))) УАЗ 31512 Rob Zombie

СообщениеДобавлено: Пн Июн 06, 2011 22:19    Заголовок сообщения: Ответить с цитатой

на вид примерно так
_________________
Давите пешеходов. Они должны усвоить, что раз они не платят дорожный налог, то не имеют права шляться по тому, что им не принадлежит.
(ц) Дж. Кларксон.
Zanski's Garage O6ЗЗЧIOI8I
Вернуться к началу
Посмотреть профиль Отправить личное сообщение Отправить e-mail
Uno
Член клуба


Член клуба

Возраст: 53
Знак зодиака: Близнецы
Зарегистрирован: 16.02.2009
Сообщения: 13805
Откуда: Киев Оболонь

Авто: Uno 45 (продан) , Uno 75sie (продан), Uno 1,3 turbo, Uno SX 70 1,3, Doblo 1,3 multijet

СообщениеДобавлено: Пн Июн 06, 2011 22:46    Заголовок сообщения: Ответить с цитатой

Женя, полированый нерж конечно весма кошерно, но весьма не дешево... тут бы на "народные" люминявые наскрести Blush
_________________
FuckFuelEconomy-Turbo Power I’m Lovin' it
турбік
добло
Вернуться к началу
Посмотреть профиль Отправить личное сообщение Отправить e-mail
vova_shkvarovski
Италофан


Италофан

Возраст: 40
Знак зодиака: Стрелец
Зарегистрирован: 19.01.2011
Сообщения: 245
Откуда: Тернополь

Авто: Croma 2.0 T.i.e. 1992

СообщениеДобавлено: Пн Июн 06, 2011 22:49    Заголовок сообщения: Ответить с цитатой

Красиво смотрится...
Вернуться к началу
Посмотреть профиль Отправить личное сообщение
zanski
Член клуба


Член клуба

Возраст: 44
Знак зодиака: Рыбы
Зарегистрирован: 03.04.2007
Сообщения: 6607
Откуда: Киев

Авто: Шальоный хаврашок... Не турбувати))) УАЗ 31512 Rob Zombie

СообщениеДобавлено: Пн Июн 06, 2011 22:51    Заголовок сообщения: Ответить с цитатой

FIATuno
не, ну тут главное шоп деталь оправдывала возложенное на неё высокое доверие! история знает случаи использования 2" канализационных труб в экстренных ситуациях (ралли)

_________________
Давите пешеходов. Они должны усвоить, что раз они не платят дорожный налог, то не имеют права шляться по тому, что им не принадлежит.
(ц) Дж. Кларксон.
Zanski's Garage O6ЗЗЧIOI8I
Вернуться к началу
Посмотреть профиль Отправить личное сообщение Отправить e-mail
vova_shkvarovski
Италофан


Италофан

Возраст: 40
Знак зодиака: Стрелец
Зарегистрирован: 19.01.2011
Сообщения: 245
Откуда: Тернополь

Авто: Croma 2.0 T.i.e. 1992

СообщениеДобавлено: Пн Июн 06, 2011 22:51    Заголовок сообщения: Ответить с цитатой

кто может смерять диаметр?


t_dsc00055_946.jpg
 Описание:
 Размер:  27.3 KB
 Просмотрено:  306 раз(а)

t_dsc00055_946.jpg


Вернуться к началу
Посмотреть профиль Отправить личное сообщение
Uno
Член клуба


Член клуба

Возраст: 53
Знак зодиака: Близнецы
Зарегистрирован: 16.02.2009
Сообщения: 13805
Откуда: Киев Оболонь

Авто: Uno 45 (продан) , Uno 75sie (продан), Uno 1,3 turbo, Uno SX 70 1,3, Doblo 1,3 multijet

СообщениеДобавлено: Пн Июн 06, 2011 22:52    Заголовок сообщения: Ответить с цитатой

vova_shkvarovski писал(а):
Красиво смотрится...

и стоит соответствуеще... Wink
Евгений, Laughing про те самые трубы - эт вообще отдельная эпопея Laughing

_________________
FuckFuelEconomy-Turbo Power I’m Lovin' it
турбік
добло
Вернуться к началу
Посмотреть профиль Отправить личное сообщение Отправить e-mail
zanski
Член клуба


Член клуба

Возраст: 44
Знак зодиака: Рыбы
Зарегистрирован: 03.04.2007
Сообщения: 6607
Откуда: Киев

Авто: Шальоный хаврашок... Не турбувати))) УАЗ 31512 Rob Zombie

СообщениеДобавлено: Пн Июн 06, 2011 22:58    Заголовок сообщения: Ответить с цитатой

FIATuno
а вдруг у кавота есть возможности изготовления?? я бе присоседилсо..

_________________
Давите пешеходов. Они должны усвоить, что раз они не платят дорожный налог, то не имеют права шляться по тому, что им не принадлежит.
(ц) Дж. Кларксон.
Zanski's Garage O6ЗЗЧIOI8I
Вернуться к началу
Посмотреть профиль Отправить личное сообщение Отправить e-mail
Croma
Италоманьячище


Италоманьячище

Возраст: 68
Знак зодиака: Овен
Зарегистрирован: 30.11.2009
Сообщения: 6091
Откуда: Окупированный Харьков

Авто: Fiat Croma TURBO IE

СообщениеДобавлено: Вт Июн 07, 2011 02:34    Заголовок сообщения: Ответить с цитатой

vova_shkvarovski
Для справки.
Номер 60805108 http://www.fiatdoblo.net.ua Цена 73.84 €
Он же IMPERGOM IMP 19408
Фото impergom_19408.jpg

Трубка торчащая в сторону это вентиляция картера.
Её для упрощения изобретения патрубка можно перенести
на деталь №8. Вварить или штуцер на резьбе.
Можно диаметр уменьшить.
На той железной трубке куда одеваеться №3 отверстие в конце
милиметров восемь.
Давление наддува на этом патрубке отсутсвует.
Стоит перед турбиной.

zanski
Если ты в турбопатрубках разбираешься, то подскажи.
Где на Украине разжиться вот таким.
См. 12.jpg 80мм 52мм. Цвет значения не имеет.



impergom_19408.jpg
 Описание:
 Размер:  8.59 KB
 Просмотрено:  6577 раз(а)

impergom_19408.jpg



12.jpg
 Описание:
 Размер:  25.19 KB
 Просмотрено:  286 раз(а)

12.jpg


Вернуться к началу
Посмотреть профиль Отправить личное сообщение
doc78
Италомафиози


Италомафиози

Возраст: 48
Знак зодиака: Водолей
Зарегистрирован: 30.11.2009
Сообщения: 888
Откуда: Харьков

Авто: Lancia Thema 2,0 turbo, Fiat 127 special

СообщениеДобавлено: Пт Сен 16, 2011 14:32    Заголовок сообщения: Ответить с цитатой

zanski писал(а):
на вид примерно так

а кто у нас такое делает?
Вернуться к началу
Посмотреть профиль Отправить личное сообщение Отправить e-mail
Показать сообщения:   
Начать новую тему   Ответить на тему    Список форумов Український клуб фанів FIAT / CLUB UCRAINO TIFOSO DELLA FIAT -> FIAT Ritmo, FIAT Regata, FIAT Croma, FIAT Croma Nuova Часовой пояс: GMT + 3
На страницу 1, 2, 3  След.
Страница 1 из 3

 
Перейти:  
Вы не можете начинать темы
Вы не можете отвечать на сообщения
Вы не можете редактировать свои сообщения
Вы не можете удалять свои сообщения
Вы не можете голосовать в опросах
Вы не можете присоединять файлы в этом форуме
Вы можете скачивать файлы в этом форуме






Powered by phpBB © 2001, 2005 phpBB Group
З питань розміщення реклами писати на цю адресу