 |
Український клуб фанів FIAT / CLUB UCRAINO TIFOSO DELLA FIAT
|
 |
| Предыдущая тема :: Следующая тема |
| Автор |
Сообщение |
Pentagon Италолюбитель


Возраст: 37 Знак зодиака:  Зарегистрирован: 02.06.2009 Сообщения: 62 Откуда: Белгород
Авто: Fiat Punto II с аэрографией;))
|
Добавлено: Ср Июн 03, 2009 12:08 Заголовок сообщения: Вопрос про радиаторы |
|
|
У отца на Темпре потек радиатор,замучал уже.....купили б\у от Типо,и тот и другой без бачка,крепления фсе подходит,только на моем родном 3 трубки подходит к радиатору,а на Типо 2 (нет верхней пароотводящей)Вопрос:что делать,заглушить пороотводящий шланг,или проделать дыру в радиаторе и подключить шланг ???????
|
|
| Вернуться к началу |
|
 |
Pustynnikov Италоманьячище


Возраст: 50 Знак зодиака:  Зарегистрирован: 28.07.2007 Сообщения: 2881 Откуда: Бобруйск Беларусь
Авто: Peugeot 405 II Break (4E) 1.8 LFZ (XU7JP)
|
Добавлено: Ср Июн 03, 2009 12:28 Заголовок сообщения: |
|
|
что за пароотводящая трубка? первый раз слышу. Там же пар стравливается через пробку-клапан бачка... вроде так...
_________________ Fiat Tipo 1.4 i.e. (160A1046) DGT 90 г.в. Продан. Разбит новой хозяйкой Восстановлен!!! Перепродан другой хозяйке. Убит... Мне так его жаль! |
|
| Вернуться к началу |
|
 |
Pentagon Италолюбитель


Возраст: 37 Знак зодиака:  Зарегистрирован: 02.06.2009 Сообщения: 62 Откуда: Белгород
Авто: Fiat Punto II с аэрографией;))
|
Добавлено: Ср Июн 03, 2009 12:36 Заголовок сообщения: |
|
|
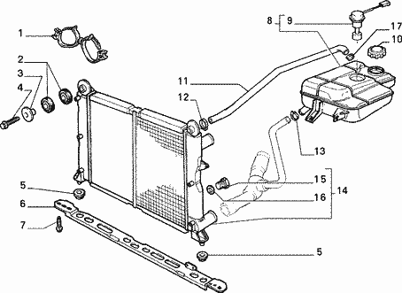
| там в самом верху радиатора,выше труки,кот.на термостат идет есть есче одна маленькая трубка,она идет на бачек,через нее пар попадает в бачет и там стравливаеца через крышку,по моему так...
|
|
| Вернуться к началу |
|
 |
Pentagon Италолюбитель


Возраст: 37 Знак зодиака:  Зарегистрирован: 02.06.2009 Сообщения: 62 Откуда: Белгород
Авто: Fiat Punto II с аэрографией;))
|
Добавлено: Ср Июн 03, 2009 12:44 Заголовок сообщения: |
|
|
Трубка под номером 11
| Описание: |
|
| Размер: |
11.63 KB |
| Просмотрено: |
300 раз(а) |

|
|
|
| Вернуться к началу |
|
 |
ksv Италоманьячище


Возраст: 46 Знак зодиака:  Зарегистрирован: 21.09.2006 Сообщения: 3352 Откуда: Киев
Авто: Leaf 13 S+/Leaf 19 SV/Chrysler Pacifica 17 LX
|
Добавлено: Ср Июн 03, 2009 13:10 Заголовок сообщения: |
|
|
| а на термостате нет штуцера заглушеного?
|
|
| Вернуться к началу |
|
 |
Pentagon Италолюбитель


Возраст: 37 Знак зодиака:  Зарегистрирован: 02.06.2009 Сообщения: 62 Откуда: Белгород
Авто: Fiat Punto II с аэрографией;))
|
Добавлено: Ср Июн 03, 2009 13:33 Заголовок сообщения: |
|
|
| есле честно,точно не помню,но скорее фсего нет,я бы обратил внимание.вечером посмотрю точно
|
|
| Вернуться к началу |
|
 |
Pentagon Италолюбитель


Возраст: 37 Знак зодиака:  Зарегистрирован: 02.06.2009 Сообщения: 62 Откуда: Белгород
Авто: Fiat Punto II с аэрографией;))
|
Добавлено: Чт Июн 04, 2009 13:10 Заголовок сообщения: |
|
|
| никакого штуцера на термостате нет,я так понял,радиаторы на Типо и Темпро бывают 3х видов: с бачком,с пароотводящей трубкой на радиаторе и без неё(у них пароотводящая трубка на термостате)
|
|
| Вернуться к началу |
|
 |
Maksim'ka Италомафиози


Возраст: 43 Знак зодиака:  Зарегистрирован: 18.09.2007 Сообщения: 640 Откуда: Санкт-Петербург
Авто: Два Типика+AR159SW
|
Добавлено: Сб Июн 06, 2009 13:43 Заголовок сообщения: |
|
|
Темпра у Отца с каким мотором?
_________________ Alfa Romeo 159 1.9JTDm
FIAT Tipo 1.6DOHC (149С2046) Full Injection MPI на Я7.2 Ох чё будет...
FIAT Tipo 1.7 TurboD -- продан. |
|
| Вернуться к началу |
|
 |
Pentagon Италолюбитель


Возраст: 37 Знак зодиака:  Зарегистрирован: 02.06.2009 Сообщения: 62 Откуда: Белгород
Авто: Fiat Punto II с аэрографией;))
|
Добавлено: Пн Июн 08, 2009 10:51 Заголовок сообщения: |
|
|
| Maksim'ka писал(а): | | Темпра у Отца с каким мотором? | одновальный 1.6 моно
|
|
| Вернуться к началу |
|
 |
|
|
Вы не можете начинать темы Вы не можете отвечать на сообщения Вы не можете редактировать свои сообщения Вы не можете удалять свои сообщения Вы не можете голосовать в опросах Вы не можете присоединять файлы в этом форуме Вы можете скачивать файлы в этом форуме
|
Powered by phpBB © 2001, 2005 phpBB Group
|