Сайт Українського клуба фанів FIAT Український клуб фанів FIAT / CLUB UCRAINO TIFOSO DELLA FIAT

 
ФотогалереяФотогалерея   FAQFAQ   ПоискПоиск   ПользователиПользователи   ГруппыГруппы   РегистрацияРегистрация 
 ПрофильПрофиль   Войти и проверить личные сообщенияВойти и проверить личные сообщения   ВходВход 

Куплю корпус Воздушного фильтра ДЕДРА,Темпра 1,8-2,0

 
Начать новую тему   Ответить на тему    Список форумов Український клуб фанів FIAT / CLUB UCRAINO TIFOSO DELLA FIAT -> Шукаю запчастини
Предыдущая тема :: Следующая тема  
Автор Сообщение
Vlad123
Amico


Amico

Возраст: 52
Знак зодиака: Водолей
Зарегистрирован: 22.05.2010
Сообщения: 27
Откуда: Lubny

Авто: Lancia DEDRA

СообщениеДобавлено: Вс Апр 10, 2016 23:18    Заголовок сообщения: Куплю корпус Воздушного фильтра ДЕДРА,Темпра 1,8-2,0 Ответить с цитатой

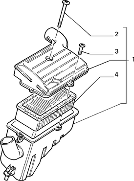
Очень нужен корпус воздушного фильтра на Лянча ДЕДРУ или Фиат Темпра 1,8 -2.01992г.Может у кого завалялся или прийму в подарок. От дедры 1,6 не подходит . Рисунок моего внизу.


index.png
 Описание:
 Размер:  25.79 KB
 Просмотрено:  147 раз(а)

index.png


Вернуться к началу
Посмотреть профиль Отправить личное сообщение
Показать сообщения:   
Начать новую тему   Ответить на тему    Список форумов Український клуб фанів FIAT / CLUB UCRAINO TIFOSO DELLA FIAT -> Шукаю запчастини Часовой пояс: GMT + 3
Страница 1 из 1

 
Перейти:  
Вы не можете начинать темы
Вы не можете отвечать на сообщения
Вы не можете редактировать свои сообщения
Вы не можете удалять свои сообщения
Вы не можете голосовать в опросах
Вы не можете присоединять файлы в этом форуме
Вы можете скачивать файлы в этом форуме






Powered by phpBB © 2001, 2005 phpBB Group
З питань розміщення реклами писати на цю адресу