Сайт Українського клуба фанів FIAT Український клуб фанів FIAT / CLUB UCRAINO TIFOSO DELLA FIAT

 
ФотогалереяФотогалерея   FAQFAQ   ПоискПоиск   ПользователиПользователи   ГруппыГруппы   РегистрацияРегистрация 
 ПрофильПрофиль   Войти и проверить личные сообщенияВойти и проверить личные сообщения   ВходВход 

Куплю уплотнитель стекла задней правой двери Fiat Temra

 
Начать новую тему   Ответить на тему    Список форумов Український клуб фанів FIAT / CLUB UCRAINO TIFOSO DELLA FIAT -> Шукаю запчастини
Предыдущая тема :: Следующая тема  
Автор Сообщение
Princ
Италофан


Италофан

Возраст: 54
Знак зодиака: Лев
Зарегистрирован: 26.02.2013
Сообщения: 118
Откуда: Сумы

Авто: Seat Ibuza 1.2, Tempra 1.6i, Opel Vectra A 1.8i, BMW 316, VW VENTO 1.8

СообщениеДобавлено: Сб Июн 15, 2013 17:00    Заголовок сообщения: Куплю уплотнитель стекла задней правой двери Fiat Temra Ответить с цитатой

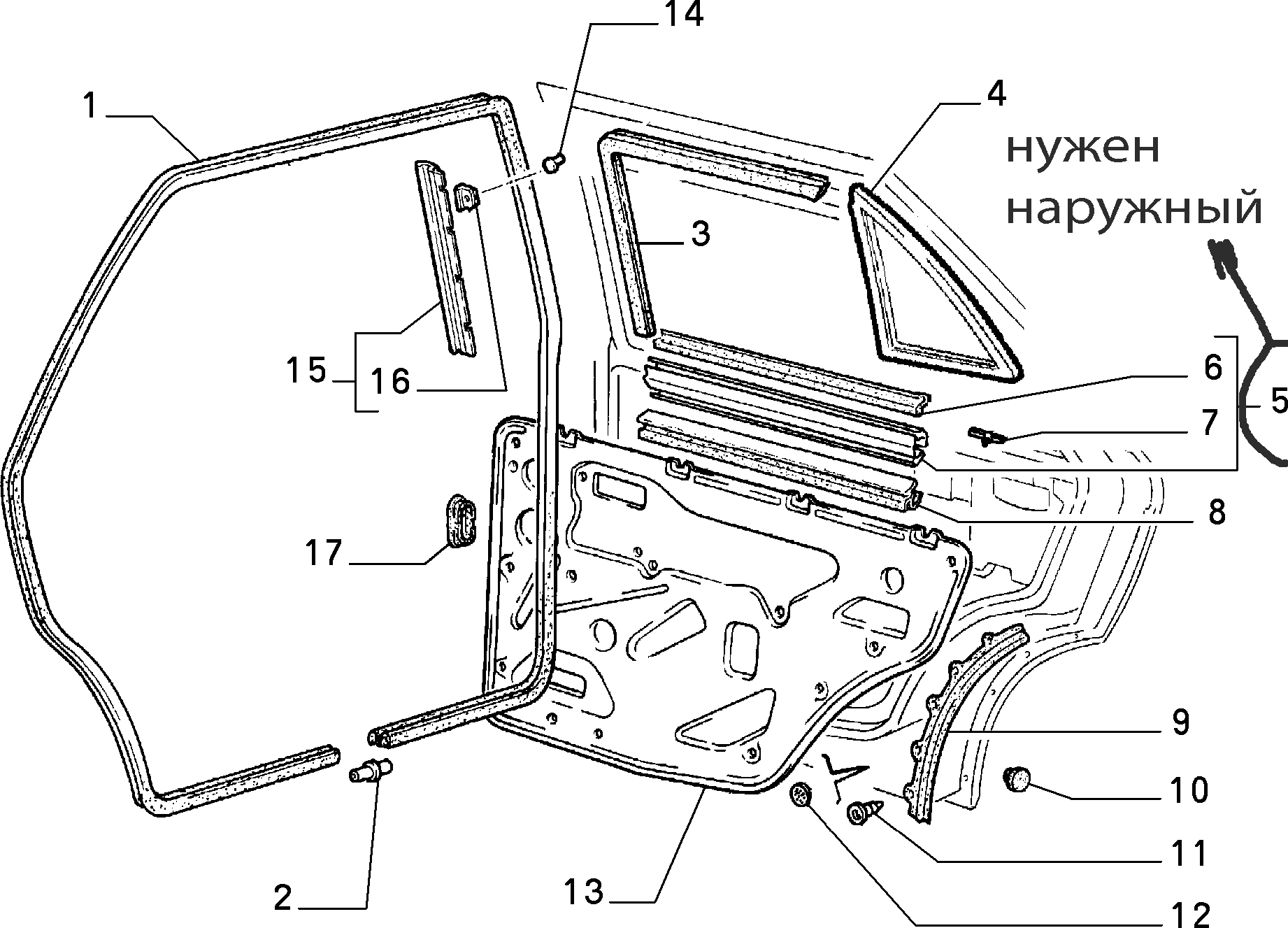
Собственно куплю уплотнитель стекла, а то вся вода течёт мне в дверь!
Если я правильно определился то тот который на рисунке, если нет, то подскажите какой!



1.png
 Описание:
 Размер:  54.8 KB
 Просмотрено:  206 раз(а)

1.png


Вернуться к началу
Посмотреть профиль Отправить личное сообщение
OLE-OLE
Италомафиози


Италомафиози

Возраст: 53
Знак зодиака: Скорпион
Зарегистрирован: 12.11.2006
Сообщения: 933
Откуда: Вінниця

Авто: Opel Ascona 1.6 NZ-->> Fiat Doblo 1.6 16V BiPower

СообщениеДобавлено: Вс Июн 16, 2013 01:24    Заголовок сообщения: Ответить с цитатой

Есть, ещё на дверях.
Состояние не помню, надо поглядеть.
тел 067 966 44 15
Олег

_________________
Не зручно пройтись 50 метрів, до пішохідного переходу...
Буде зручно лежати на місці, на кладовищі!
Вернуться к началу
Посмотреть профиль Отправить личное сообщение Отправить e-mail
minakoff
Италоманьячище


Италоманьячище

Возраст: 54
Знак зодиака: Весы
Зарегистрирован: 20.10.2009
Сообщения: 2708
Откуда: Запорожье

Авто: Fiat Grande Punto

СообщениеДобавлено: Вс Июн 16, 2013 07:03    Заголовок сообщения: Ответить с цитатой

Есть в наличии, звоните 40грн
_________________
http://autorazborka.in.ua/
+380505327712
+380683776237


Последний раз редактировалось: minakoff (Вс Июн 16, 2013 13:08), всего редактировалось 1 раз
Вернуться к началу
Посмотреть профиль Отправить личное сообщение Отправить e-mail Посетить сайт автора
Хоттабыч
Италоманьячище


Италоманьячище

Возраст: 60
Знак зодиака: Водолей
Зарегистрирован: 25.04.2008
Сообщения: 12017
Откуда: Киев, Соломенка

Авто: Fiat Fiorino 1.3mjtd, ранее Tipo 1.6 MI

СообщениеДобавлено: Вс Июн 16, 2013 08:39    Заголовок сообщения: Re: Куплю уплотнитель стекла задней правой двери Fiat Temra Ответить с цитатой

Princ писал(а):
Собственно куплю уплотнитель стекла, а то вся вода течёт мне в дверь!
Если я правильно определился то тот который на рисунке, если нет, то подскажите какой!

А вода и будет в дверь попадать. Главное чтобы с двери сток был

_________________
СТО Fiat: пн-птн с 9.30 до 18.00, суб с 9.30 до 15.00. Оригинальные запчасти.
0661694095, 0639989129 (viber) 9.00 - 18.00
http://fiat-club.org.ua/forum/viewtopic.php?t=38938&start=0
Вернуться к началу
Посмотреть профиль Отправить личное сообщение Отправить e-mail Посетить сайт автора
Princ
Италофан


Италофан

Возраст: 54
Знак зодиака: Лев
Зарегистрирован: 26.02.2013
Сообщения: 118
Откуда: Сумы

Авто: Seat Ibuza 1.2, Tempra 1.6i, Opel Vectra A 1.8i, BMW 316, VW VENTO 1.8

СообщениеДобавлено: Вс Июн 16, 2013 08:51    Заголовок сообщения: Ответить с цитатой

Я, понимаю что какое то количество будет попадать, но не вся литься в дверь будет после установки этой резинки, у меня её вовсе нет.
Вернуться к началу
Посмотреть профиль Отправить личное сообщение
Хоттабыч
Италоманьячище


Италоманьячище

Возраст: 60
Знак зодиака: Водолей
Зарегистрирован: 25.04.2008
Сообщения: 12017
Откуда: Киев, Соломенка

Авто: Fiat Fiorino 1.3mjtd, ранее Tipo 1.6 MI

СообщениеДобавлено: Вс Июн 16, 2013 09:25    Заголовок сообщения: Ответить с цитатой

Ну если вообще нет...
_________________
СТО Fiat: пн-птн с 9.30 до 18.00, суб с 9.30 до 15.00. Оригинальные запчасти.
0661694095, 0639989129 (viber) 9.00 - 18.00
http://fiat-club.org.ua/forum/viewtopic.php?t=38938&start=0
Вернуться к началу
Посмотреть профиль Отправить личное сообщение Отправить e-mail Посетить сайт автора
Показать сообщения:   
Начать новую тему   Ответить на тему    Список форумов Український клуб фанів FIAT / CLUB UCRAINO TIFOSO DELLA FIAT -> Шукаю запчастини Часовой пояс: GMT + 3
Страница 1 из 1

 
Перейти:  
Вы не можете начинать темы
Вы не можете отвечать на сообщения
Вы не можете редактировать свои сообщения
Вы не можете удалять свои сообщения
Вы не можете голосовать в опросах
Вы не можете присоединять файлы в этом форуме
Вы можете скачивать файлы в этом форуме






Powered by phpBB © 2001, 2005 phpBB Group
З питань розміщення реклами писати на цю адресу