| Предыдущая тема :: Следующая тема |
| Автор |
Сообщение |
Санчес 80 Amico


Возраст: 45 Знак зодиака:  Зарегистрирован: 19.11.2011 Сообщения: 24 Откуда: Крым Симферополь
Авто: Fiat Tipo 1.8i 1994г
|
Добавлено: Вс Сен 16, 2012 21:27 Заголовок сообщения: Потерялся регулятор давления топлива |
|
|
Подскажите пожалуйста должен ли стоять на это двигателе(160ED55А) регулятор давления топлива.У меня его нет!!!??? где он должен стоять?
А задумался потому, что с утра на холодную не зводиться, только с 4-го раза.Затем заводиться с пол оборота (если конечно не постоит часов так 5-6 и опять все сначала).С утра открутил топливо-подающий шланг на рампе,а бензин даже не потек.Менял фильтр топлива днем после того как двигатель уже работал так давление было такое что бензин распыляло в радиусе 1 метра.
P.S. Отсоеденяешь трубочку ДАД, заводиться спокойно.
| Описание: |
|
| Размер: |
118.82 KB |
| Просмотрено: |
377 раз(а) |

|
| Описание: |
|
| Размер: |
496.49 KB |
| Просмотрено: |
455 раз(а) |

|
| Описание: |
|
| Размер: |
95.85 KB |
| Просмотрено: |
408 раз(а) |

|
|
|
| Вернуться к началу |
|
 |
=aleks= Италоманьячище


Возраст: 49 Знак зодиака:  Зарегистрирован: 06.10.2009 Сообщения: 8633 Откуда: Харьков
Авто: была Tempra2.0 теперьTоyota carina-e 93 1.6
|
Добавлено: Вс Сен 16, 2012 21:57 Заголовок сообщения: |
|
|
повидемому у тебя колхоз.
существуют насосы сразу с регулятором давки.мож тебе такой поставили?
если бы не было вообще регулятора,то машина даже может не завелась бы!!
а то что с утра бенза нет,так тоже в бензонасосе есть обратный клапан.вот может в нём проблемы!!!
_________________ Бортовик Темпра |
|
| Вернуться к началу |
|
 |
Санчес 80 Amico


Возраст: 45 Знак зодиака:  Зарегистрирован: 19.11.2011 Сообщения: 24 Откуда: Крым Симферополь
Авто: Fiat Tipo 1.8i 1994г
|
Добавлено: Вс Сен 16, 2012 22:19 Заголовок сообщения: |
|
|
насчет колхоза наверное оно так и есть! насос стоит обычный как с завода.менял пару дней назад так там резина на насосе в руках рассыпалась.поставил другой таже самая история.
| Описание: |
|
| Размер: |
3.11 KB |
| Просмотрено: |
10563 раз(а) |

|
|
|
| Вернуться к началу |
|
 |
=aleks= Италоманьячище


Возраст: 49 Знак зодиака:  Зарегистрирован: 06.10.2009 Сообщения: 8633 Откуда: Харьков
Авто: была Tempra2.0 теперьTоyota carina-e 93 1.6
|
Добавлено: Вс Сен 16, 2012 23:08 Заголовок сообщения: |
|
|
Санчес 80
какая резина расыпалась.
вот эта!!
| Описание: |
|
| Размер: |
16 KB |
| Просмотрено: |
407 раз(а) |

|
_________________ Бортовик Темпра |
|
| Вернуться к началу |
|
 |
Санчес 80 Amico


Возраст: 45 Знак зодиака:  Зарегистрирован: 19.11.2011 Сообщения: 24 Откуда: Крым Симферополь
Авто: Fiat Tipo 1.8i 1994г
|
Добавлено: Вс Сен 16, 2012 23:11 Заголовок сообщения: |
|
|
| да-да она!
|
|
| Вернуться к началу |
|
 |
=aleks= Италоманьячище


Возраст: 49 Знак зодиака:  Зарегистрирован: 06.10.2009 Сообщения: 8633 Откуда: Харьков
Авто: была Tempra2.0 теперьTоyota carina-e 93 1.6
|
Добавлено: Вс Сен 16, 2012 23:12 Заголовок сообщения: |
|
|
Санчес 80
ну она совсем другую роль играет!!
можешь написать номер насоса который поставил!!
_________________ Бортовик Темпра |
|
| Вернуться к началу |
|
 |
Санчес 80 Amico


Возраст: 45 Знак зодиака:  Зарегистрирован: 19.11.2011 Сообщения: 24 Откуда: Крым Симферополь
Авто: Fiat Tipo 1.8i 1994г
|
Добавлено: Вс Сен 16, 2012 23:19 Заголовок сообщения: |
|
|
| WALBRO MSS071 вроде так
|
|
| Вернуться к началу |
|
 |
Юрец24 Италомафиози


Возраст: 41 Знак зодиака:  Зарегистрирован: 09.11.2009 Сообщения: 1040 Откуда: Конотоп
Авто: Fiat Tipo 2.0 16v
|
Добавлено: Вс Сен 16, 2012 23:26 Заголовок сообщения: |
|
|
посмотрите внимательней!, регулятор давления топлива видно даже на фото, смотрите в торец топливной рейки.
_________________
 |
|
| Вернуться к началу |
|
 |
Санчес 80 Amico


Возраст: 45 Знак зодиака:  Зарегистрирован: 19.11.2011 Сообщения: 24 Откуда: Крым Симферополь
Авто: Fiat Tipo 1.8i 1994г
|
Добавлено: Вс Сен 16, 2012 23:33 Заголовок сообщения: |
|
|
| Юрец24 писал(а): | | посмотрите внимательней!, регулятор давления топлива видно даже на фото, смотрите в торец топливной рейки. |
серьезно его там нет! (а сбоку Клапан рециркуляции отработанных газов)
|
|
| Вернуться к началу |
|
 |
Юрец24 Италомафиози


Возраст: 41 Знак зодиака:  Зарегистрирован: 09.11.2009 Сообщения: 1040 Откуда: Конотоп
Авто: Fiat Tipo 2.0 16v
|
|
| Вернуться к началу |
|
 |
A-Lex Италоманьячище


Возраст: 42 Знак зодиака:  Зарегистрирован: 16.05.2007 Сообщения: 4598 Откуда: Хмельницкий
Авто: Был Типа Фиат 2.0 i.e. 8v, теперь Jeep Grand Cherokee ZJ 4.0i l6 1994г.в.
|
Добавлено: Вс Сен 16, 2012 23:52 Заголовок сообщения: |
|
|
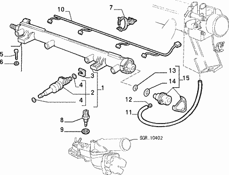
На рисунке ниже под номером 15
| Описание: |
|
| Размер: |
11.58 KB |
| Просмотрено: |
416 раз(а) |

|
|
|
| Вернуться к началу |
|
 |
Санчес 80 Amico


Возраст: 45 Знак зодиака:  Зарегистрирован: 19.11.2011 Сообщения: 24 Откуда: Крым Симферополь
Авто: Fiat Tipo 1.8i 1994г
|
Добавлено: Пн Сен 17, 2012 00:07 Заголовок сообщения: |
|
|
да точно стоит!!!!!Реально не видел!!!
даже нашел надпись на рейке WEBER made in Itali
Это радует! Большое вам спасибо Всем! А может если он полетел плохо заводиться ?
|
|
| Вернуться к началу |
|
 |
Санчес 80 Amico


Возраст: 45 Знак зодиака:  Зарегистрирован: 19.11.2011 Сообщения: 24 Откуда: Крым Симферополь
Авто: Fiat Tipo 1.8i 1994г
|
Добавлено: Пн Сен 17, 2012 00:14 Заголовок сообщения: |
|
|
A-Lex
Подскажите пожалуйста откуда взята схема топливной рейки?
|
|
| Вернуться к началу |
|
 |
=aleks= Италоманьячище


Возраст: 49 Знак зодиака:  Зарегистрирован: 06.10.2009 Сообщения: 8633 Откуда: Харьков
Авто: была Tempra2.0 теперьTоyota carina-e 93 1.6
|
|
| Вернуться к началу |
|
 |
Санчес 80 Amico


Возраст: 45 Знак зодиака:  Зарегистрирован: 19.11.2011 Сообщения: 24 Откуда: Крым Симферополь
Авто: Fiat Tipo 1.8i 1994г
|
Добавлено: Пн Сен 17, 2012 00:34 Заголовок сообщения: |
|
|
=aleks=
Благодарствую!
|
|
| Вернуться к началу |
|
 |
|
|
Вы не можете начинать темы Вы не можете отвечать на сообщения Вы не можете редактировать свои сообщения Вы не можете удалять свои сообщения Вы не можете голосовать в опросах Вы не можете присоединять файлы в этом форуме Вы можете скачивать файлы в этом форуме
|